太突然了!乐从家私城街铺1280万起卖!
发布时间:2023-10-20 21:57来源:undefined点击:
其中顺联北区首层临街旺铺备受关注
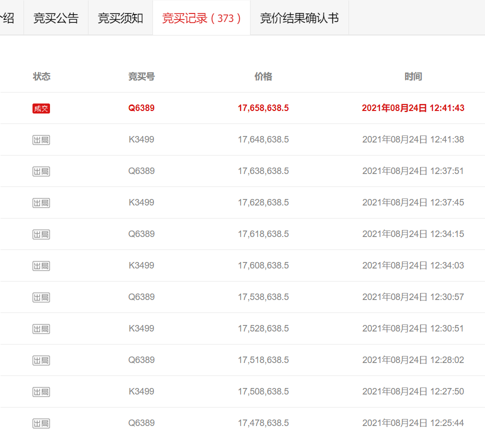
早前同座首层更拍出1700多万天价情况系点?马上去看看
保证金:128万元
(延时的除外)
使用年限至2069年5月7日
从而委托顺德拍卖行进行拍卖
目前该商铺为带租约拍卖
有意者如需看样及咨询请自行与顺德拍卖有限公司联系电话:0757-22232433袁先生13612625021随即成为家具行业一大话题
欢迎在评论区留言讨论
来源:阿里拍卖
以上资料均来自拍卖公告
责编:微道乐从疫情仍然严峻!
防控不可松懈!重要提醒!
顺德哪里可以打疫苗?
目前全国有哪些风险地区?
全国通行健康码怎样领取?
第一步:添加“微道乐从
”公众号,已关注的直接打开即可!
第二步:在“微道乐从”微信公众号对话框输入“风险”或“疫苗”“核酸”等关键词,点击“发送”即可查看全国最新风险等级,顺德疫苗接种地点等。
商务合作、爆料
请添加何小编微信
